KYN28-12 မီဒီယို-voltage ပြုပြင်ပါ ကို ပြုလုပ်မှု ၊

Use environmental conditions
◆ လေယာဉ် ၊:
◆Altitude: 1000m;
◆Humidity:
ဆက်နွယ်သော အနုပညာ: နေ့စဉ်မပြေ ၉၉% ထက် ကြီးမား မနေပါ။ လေ့ပည်
ရေဖျက်ဆီးမှုက - နေ့စဉ်အမောက် ၂.၂ KPa ထက် ပိုမွန်ပါပါ။ လေ့ပင်
ဥပမာ ၊ ဒါပေမဲ့ အန္တရာယ် ရှိ တဲ့ အခြေအနေ နှစ် ခု အတွက် ကောင်းကင်တမန် ရှိပါတယ်:
( ၁) ။ ဥပမာ ၊
( ၂) ။ ဥပမာ ၊
◆ မီးခွက် ၊
◆ အကြမ်းဖက် မှု ၊
Note: (1) Storage and transportation are allowed at -30°C;
(၂) အမြင်ကွင်းကို 1000 မြို့ထက်နေစဉ်၊ JB / ၂၁၀၂ အရအတူ "အမြင့် ဒေသများ အတွက် တိရစ္ဆာန်များ အတွက် တိရစ္ဆာန် ရည်ရွယ်ချက် အသုံးပြုရမည်။ အစီအစဉ်က္ကေတယ္ အကူအညီအစ်ကို အုပ်စိုး မှု
(၃) အသုံးပြု ရာ အခြေအနေ များသည် အပေါ်မှ ကွာခြားသော အချိန်တွင် အသုံးပြုသူ နှင့် ထုတ်လုပ်သူ အကြား ပြန်ပြော သင့်သည်။
Model and meaning
K Y N 28 - 12/ □ - □
└─Rated Breaking Short Circuit Current (KA)
└─Rated Current (A)
└─Rated voltage (KV).
└─Design serial number
└─Indoors
└─ Move the type
└─Metal armor
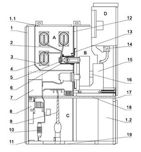
Schematic diagram of the structure of the ပြုပြင်ပါ
Figure 1

A. Circuit breaker compartment B. Busbar compartment
C. Cable room D. Relay instrument room
1. Busbar 2. Static contact disc 3. Circuit breaker
4. Grounding switch 5. Current transformer
6. Capacitive voltage divider 7. Lightning arrester
Fig.2 Schematic diagram of ပြုပြင်ပါ structure

1. Housing 2. Branch small busbar 3. Busbar sleeve 4. Main busbar
5. Static contact device 6. Static contact box 7. Current transformer
8. Grounding switch 9. Cable 10. Surge arrester 11. Grounding main bus
၁၂. ဖိုင်တွဲနိုင်သော ပုံစံကို ဖွင့်ခြင်း ဥပမာ (flap) ၁၄. မိစ္ဆာန် ပေါင်းထည့်ဆော့က်
၁၅ ၊ ဥပမာ ၊ ဥပမာ ၊ အလျားလိုက်ကို ပုံစံကို ထုတ်ယူနိုင်သော ပုံစံ
18. Grounding switch operating mechanism 19. Base plate
A.ဥပမာ ၊ ဥပမာ ၊ ဥပမာ ၊ အစိတ်အပိုင်းအစတ်
1.1. Pressure relief device 1.2. Control small trunking
Meet the standards
The product meets the following standards:
1.IEC-298
2.GB3906-1991
3.DLT404-19974. GB/T11022-1999
Primary wiring scheme
| Scheme number | 001 | 002 | 003 | 004 | 005 | |
Primary route diagram |
| |||||
| Rated current (A). | 630-4000 | |||||
One times host want electricity utensil Yuan item | Vacuum circuit breaker | 1 | 1 | 1 | 1 | 1 |
| Current transformer LZZBJ9-12 | 2 | 2 | 2 | 3 | 3 | |
| Voltage transformer RZL/REL | ||||||
| High Pressure Breaker (XRNP □) | ||||||
| Grounding Switch (EK6/JN15-12) | 1 | 1 | 1 | |||
| Surge arrester HY5WZ-17/45 | 3 | |||||
| use | Receiving power and feeding power | Receiving power and feeding power | Receiving power and feeding power | Receiving power and feeding power | Receiving power and feeding power | |
| Scheme number | 006 | 007 | 008 | 009 | 010 | |
Primary route diagram |
| |||||
| Rated current (A). | 630-4000 | |||||
One times host want electricity utensil Yuan item | Vacuum circuit breaker | 1 | 1 | 1 | 1 | 1 |
| Current transformer LZZBJ9-12 | 3 | 2 | 2 | 2 | 2 | |
| Voltage transformer RZL/REL | ||||||
| High Pressure Breaker (XRNP □) | ||||||
| Grounding Switch (EK6/JN15-12) | 1 | 1 | 1 | |||
| Surge arrester HY5WZ-17/45 | 3 | |||||
| use | Feed | Contact (right) | Contact (right) | Contact (left) | Contact (left) | |
| Scheme number | 011 | 012 | 013 | 014 | 015 | |
Primary route diagram |
| |||||
| Rated current (A). | 630-4000 | |||||
One times host want electricity utensil Yuan item | Vacuum circuit breaker | 1 | 1 | 1 | 1 | 1 |
| Current transformer LZZBJ9-12 | 3 | 3 | 2 | 2 | 2 | |
| Voltage transformer RZL/REL | ||||||
| High Pressure Breaker (XRNP □) | ||||||
| Grounding Switch (EK6/JN15-12) | 1 | 1 | 1 | |||
| Surge arrester HY5WZ-17/45 | 3 | |||||
| use | Overhead Line (Right Contact) | Overhead Line (Right Contact) | Overhead entry and exit lines | Overhead entry and exit lines | Overhead entry and exit lines | |
| Scheme number | 016 | 017 | 018 | 019 | 020 | |
Primary route diagram |
| |||||
| Rated current (A). | 630-4000 | |||||
One times host want electricity utensil Yuan item | Vacuum circuit breaker | |||||
| Current transformer LZZBJ9-12 | ||||||
| Voltage transformer RZL/REL | /3 | 2/ | /3 | 2/ | /2 | |
| High Pressure Breaker (XRNP □) | 3 | 3 | 3 | 3 | 3 | |
| Grounding Switch (EK6/JN15-12) | ||||||
| Surge arrester HY5WZ-17/45 | 3 | 3 | 3 | |||
| use | Voltage measurement surge arrester | Voltage measurement surge arrester | Voltage measurement surge arrester | Voltage Measurement (Left link) | Voltage Measurement (Right Link) | |
| Scheme number | 021 | 022 | 023 | 024 | 025 | |
Primary route diagram |
| |||||
| Rated current (A). | 630-4000 | |||||
One times host want electricity utensil Yuan item | Vacuum circuit breaker | |||||
| Current transformer LZZBJ9-12 | 2 | 2 | 3 | 3 | 2 | |
| Voltage transformer RZL/REL | 2/ | 2/ | 2/ | 2/ | /3 | |
| High Pressure Breaker (XRNP □) | 3 | 3 | 3 | 3 | 3 | |
| Grounding Switch (EK6/JN15-12) | ||||||
| Surge arrester HY5WZ-17/45 | ||||||
| use | Measurement right couplet | Measurement left couplet | Measurement left couplet | Measurement right couplet | Measurement left couplet | |
| Scheme number | 026 | 027 | 028 | 029 | 030 | |
Primary route diagram |
| |||||
| Rated current (A). | 630-4000 | |||||
One times host want electricity utensil Yuan item | Vacuum circuit breaker | 1 | ||||
| Current transformer LZZBJ9-12 | 3 | Capacitor Bm12.7-16-1 3 | ||||
| Voltage transformer RZL/REL | /3 | အသွင်အပြင်းက် 1 | /4 | /4 | ||
| High Pressure Breaker (XRNP □) | 3 | 3 | (XRNT)3 | 3 | 3 | |
| Grounding Switch (EK6/JN15-12) | 1 | 1 | 1 | |||
| Surge arrester HY5WZ-17/45 | 3 | 3 | 3 | |||
| use | Incoming metering | ပြုပြင်မှု အသုံးပြု (Cbinet အကျယ် အရွယ် အရွယ် အရွယ်အစား အရွယ်အလိုက် ဆုံးဖြတ်ထားသည်) | Capacitor cabinets | Voltage measurement surge arrester | Voltage measurement surge arrester | |

◆A handcart ဒါပေမဲ့ ဂျာမနီ နိုင်ငံ ၊ အလုပ်အကိုင် အရ ၊ ဒါပေမဲ့ မိသားစု ၊ ဒါနဲ့ လုပ်ဆောင်မှုကို လုပ်ဆောင်ခဲ့တဲ့ အခြေအနေ ၊ ဒါပေမဲ့ အခြေအနေ များ နေရာ ၊ ဒါပေမဲ့ ဒီ လို ပြော ပြ တယ် ။ |
|
◆B busbar ဒါပေမဲ့ ဒီ လို ပြော ပြ တယ် ။ ဒီဇင်ဘာလ ဂျာမနီ နိုင်ငံ ၊ အသုံးပြု သူ နှင့် ပတ်သက် ပြီး အထူး လိုအပ်ချက် ရှိ သည့် အခါ ဘတ် ဘာ ပေါ် မှာ ဆက်ဆံ ရေး ဆက်ဆံ ခြင်း နှင့် အဆုံးသတ် ချက် များ ဖြင့် အသုံးပြု နိုင်သည် ။ ဥပမာ ၊ အတွင်းမှာအခွင့်ရှိပါက ဒါပေမဲ့ အခြေအနေ မျိုး များ |
|
◆C cable room အခု ပြန်လှန်ရာ ၊ ဒါပေမဲ့ ဆယ်ယူနိုင်တဲ့ aluminium ပိုင်းတွေက ကင်း အခန်း၏ အောက်မှာကို ပြင်ဆင်ထားပါတယ်။ |
|
◆D Relay instrument room အကူအညီအစ်ကို ၊ ဒါပေမဲ့ အသုံးပြုသူလိုအပ်ချက်များ အရ ၊ ဆယ်ခြေန် |
|
◆Lock structure အလယ်တံခါးနဲ့ ခက်ခဲ့ အလယ်တံခါးကို ဖွင့်ဖို့ ရှာဖွေတာကို ပြုလုပ်ပြီး အလယ်တံခါးကို ပိတ်ထားတဲ့အခါ၊ ဒါနဲ့ ခက်ခဲ့ အတွင်းတွက် ရှေ့နေပြစ်မှားမှုကို ဆောင်ရွက် ရန် အစွမ်းသတ္တိကို တိုးပွားစေသည်။ |
|
◆တိရစ္ဆာန် များ ၊ | ◆Pressure relief device အဲ ဒါနဲ့ အဲ ဒါနဲ့ အဲ ဒါနဲ့ အဲ ဒီဇင်ဘာလတယ္ အတွင်းသို့ လေဖျက်ဆီးမှုက တိုးပွားပြီး အချိန် လုံခြုံ မှု ကို သတိပြု ရန် အသုံးပြု ရန် ဖိစီး မှု ပြုပြင် ပြောင်းလဲ ဖို့ ၊ ဥပမာ ၊ |